折り機 FD-503の[観音折り]の折り位置を調整します。折り位置が規格値からはずれてしまった場合に行います。
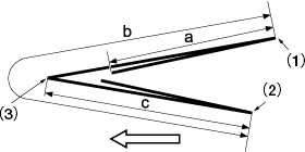
手順5で確認する規格値は以下のとおりです。
用紙サイズ | 規格値a | 規格値b | 規格値c |
|---|---|---|---|
[A3w] | 103.5 mm | 213.0 mm | 106.5 mm |
[B4w] | 89.5 mm | 185.0 mm | 92.5 mm |
[SRA4w] | 78.5 mm | 163.0 mm | 81.5 mm |
[A4w] | 72.8 mm | 151.5 mm | 75.8 mm |
[12e18w] | 112.8 mm | 231.6 mm | 115.8 mm |
[11e17w] | 106.5 mm | 218.9 mm | 109.5 mm |
[8.5e14w] | 87.4 mm | 180.8 mm | 90.4 mm |
[8.5e11w] | 68.4 mm | 142.7 mm | 71.4 mm |
[8Kw] | 96.0 mm | 198.0 mm | 99.0 mm |


[連続読込み]は自動で[観音折り]が選択されます。
サンプルが出力されます。

規格値:a,b =-1.5 mm ~ +1.5 mm以下
(1)[折り1]、(2)[折り2]、(3)[折り3]


[+/-]で数値のプラスまたはマイナスを選択し、[セット]を押すと[現在値]を変更できます。
[調整範囲:-50~+50 1step = 0.1mm]


[+/-]で数値のプラスまたはマイナスを選択し、[セット]を押すと[現在値]を変更できます。
[調整範囲:-50~+50 1step = 0.1mm]


[+/-]で数値のプラスまたはマイナスを選択し、[セット]を押すと[現在値]を変更できます。
[調整範囲:-50~+50 1step = 0.1mm]
