折り機 FD-503の[ダブルパラレル折り]の折り位置を調整します。折り位置が規格値からはずれてしまった場合に行います。
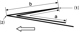
手順5で確認する規格値は以下のとおりです。
用紙サイズ | 規格値a | 規格値b |
|---|---|---|
[A3w] | 208.5 mm | 103.8 mm |
[B4w] | 180.5 mm | 89.8 mm |
[SRA4w] | 158.5 mm | 78.7 mm |
[A4w] | 147.0 mm | 73.0 mm |
[12e18w] | 227.1 mm | 113.1 mm |
[11e17w] | 214.4 mm | 106.7 mm |
[8.5e14w] | 176.3 mm | 87.7 mm |
[8.5e11w] | 138.2 mm | 68.6 mm |
[8Kw] | 193.5 mm | 96.3 mm |


[連続読込み]は自動で[ダブルパラレル折り]が選択されます。
サンプルが出力されます。

規格値:a,b =-1.5 mm ~ +1.5 mm以下
(1)[折り1]、(2)[折り2]


[+/-]で数値のプラスまたはマイナスを選択し、[セット]を押すと[現在値]を変更できます。
[調整範囲:-50~+50 1step = 0.1mm]


[+/-]で数値のプラスまたはマイナスを選択し、[セット]を押すと[現在値]を変更できます。
[調整範囲:-50~+50 1step = 0.1mm]
